Feinkal GmbH - Bad Fallingbostel

Messtaster T151 / T152 - Übersicht

Vollbrücke (LVDT), ±2 mm Messhub

Typ / Beschreibung Zeichnung

T151F / T152F

  • Messhub ± 2 mm
  • Vollbrückenschaltung (LVDT)
  • druckfederbeaufschlagt

 

» Technische Daten
» Preisliste [PDF]

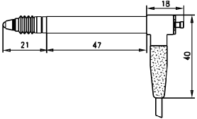
T151F
T152

T151V / T152V

  • Messhub ± 2 mm
  • Vollbrückenschaltung (LVDT)
  • Vakuumrückzug

 

» Technische Daten
» Preisliste [PDF]

T151V
T152V

T151P / T152P

  • Messhub ± 2 mm
  • Vollbrückenschaltung (LVDT)
  • pneumatisch vorgeschoben
    Balgdichtung

 

» Technische Daten
» Preisliste [PDF]

T151P
T152P

T151L / T152L

  • Messhub ± 2 mm
  • Vollbrückenschaltung (LVDT)
  • pneumatisch vorgeschoben
    Ringdichtung

 

» Technische Daten
» Preisliste [PDF]

T151L
T152L

» Zurück zur Übersicht

Feinkal GmbH - Bad Fallingbostel Impressum | Datenschutz | Kontakt | Sitemap | © 2011 - 2021 Feinkal GmbH | Änderungen und Irrtümer vorbehalten!